Škola se setkala s Universal PEGS 8x50 se šroubem s kónickou hlavou 4,5x80 100 ks.
Kód produktu: RU-08080
Kód výrobce: RU-08080
Značka
Subjekt odpovědný za tento výrobek v EU
KLIMAS SPÓŁKA Z OGRANICZONĄ ODPOWIEDZIALNOŚCIĄPřečtěte si více
Adresa:
Wincentego Witosa 135/137Poštovní směrovací číslo: 42-233Město: Kuźnica KiedrzyńskaStát: PolskaE-mailová adresa: office@wkret-met.com
Symbol
RU-08080
Kód výrobce
5907704405153
Przeznaczenie
uniwersalne
Długość (mm)
50
Średnica (mm)
8
Ilość w opakowaniu
100
Kod zewnętrznego systemu
Zobrazit
RU-08080-uniw
Kod EAN
Zobrazit
5907704405153
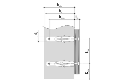
Univerzální hmoždinky 8,0 x 50 s kónickým šroubem hlavy 4, 5 x 80 (100pcs)
Klasická univerzální hmoždinka pro všechny substráty s kuželovou hlavou s Pz./ P>
Vlastnosti:
- Průměr [mm]: 8 Li>
- Materiál: Polyamid/ocel
- Rozměry těla Lk X DK [MM]: 8 x 50
- Průměr tělesa [mm]: 8 Li>
- Průměr límce těla dk [mm]: 12
- Délka těla Lk [MM]: 50
- Materiál sboru: polyamid
- Rozměry šroubu / šroubu / Mandrel DW x LW [mm]: 4,5 x 80
- Průměr / šroub / umyvadlo DW [mm]: 4,5
- Délka šroubu / šroubovák / Mandrel LW [mm]: 80
- Materiál / šrouby / mandrel / hřebík: Stal
- Typ hlavy Šrouby / šrouby / mandrel: kónický
- Typ zásuvného šroubu / šrouby / mandrely: PZ-2
Zdjęcia towarów zamieszczone na stronie Sklepu przedstawiają faktyczny produkt. W zależności od ustawień monitora, jakim posługuje się Klient, kolorystyka zdjęć towaru (w szczególności intensywność koloru oraz odcień) zamieszczonych na stronie Sklepu mogą różnić się nieco od rzeczywistej.
Dotaz na výrobek
Napište svoji recenzi na produkt
Obchodní oddělení606413629








